北斗星X5多功能按键+奥码行改装完成
25日在宝上订了奥码行后视镜的,26日上午10点半到货


带着工具下楼开拆,把方向盘一锅端都拆回来了

按照厂家给的阻值测量后没有一个键能对上

接着拆按键用一字改锥在红圈位置往上撬
拆完的摸样
把上面的电阻全部拆掉
这是原按键的按钮排列方式,记住把红圈位置的导线切断
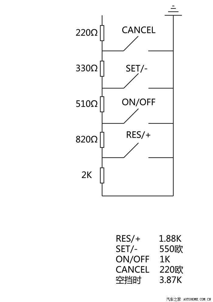
按照厂家给的阻值图,重新排列按键顺序
感觉有点乱,测量各相阻值均符合要求后将按键复原
这是游丝下方按键控制插头接线方式,我把原车按键插头的拆了安上的,原车不带按键的可尝试在电脑上拆个插头试试

接好的模样
我的是11改款运动版游丝可直接用,其他车款请用表测下是否都通。
巡航主机接线方法、按键安装可参考的帖子
http://club.autohome.com.cn/bbs/thread-c-529-10934971-1.html
http://club.autohome.com.cn/bbs/thread-c-529-10922324-1.html
因一个人自己装所以大部分照片细节没照(中午饭都没吃上,手还划了几个小口子
),因小区停车困难特意等到晚12点后试得车,除油门插头没插实外其他一切正常,因太晚了没照整体效果明天补上
。
本人文笔太差,不知是否说明白了,希望帖子可以帮助朋友们。
这是总体图
MG188行车记录确实够清晰
经过两天的使用个人感觉外观上与原车很神似,操作起来应该比手柄方便些(个人臆想
)时速30公里以上基本可以当做是手动油门使用,按键改装只改巡航控制部分,音频控制与原车DVD通用,自己不会的情况下可找手机或家电维修代工带着按键阻值图他们一看就明白,手工费估计也就是一二十块,谢谢大家的支持与关注
打开汽车之家 阅读体验更好
举报/纠错