图解F3离合器的调整
离合器分类
一般小车的离合器分如下二种:
一是拉线离合式(配MT手动档变速器)
二是液压离合式(配MT手动档变速器)
而F3使用的离合属于液压式
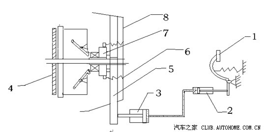
如图为液压泵离合器

离合器踏板行程
包括自由行程和有效行程,
自由行程为保证离合器分离彻底
而有效行程可以调整离合器接合点的高低
离合器踏板自由行程高度一般12—36mm
而F3一般调整到20mm左右为好

离合器踏板自由行程的检查方法:
1.关闭发动机。
2.用手按压离合器踏板并在感到有阻力时测量踏板下降距离。
3.如果自由行程不符合,可联系4S店调整,能力较好的可以自行调整.

液压泵离合器的调整方法.
1.先松开离合踏板与离合泵连接顶杆上的锁止螺母.
2.调整螺杆长度,螺杆收短,则离合踏板行程变短,抬高踏板较少便可进入半联动状态,反之则接合点变高.
3.一次调整量不宜过多,调整不适可反复多次进行调整.
4.试验位置合适与否要依试车为准,最后记住一定要锁紧迫紧螺母.

如图开口销取出,将油泵顶杆轴拆下.

如图用手旋转连接叉,顺时钟顶杆变短.

最后记得将防松开口销装回.

箭头所指的方向为:一是调整后推杆如箭头方向变长,这样会使离合抬高多点才到离合接合点.
二是是调整后推杆如箭头方向变短,这样会使离合轻抬便可进入离合接合点.

如下是自由行程的调整.

调整前将刹车传感开关插头拔下,以免档住松调整螺钉的板手.


最后看看F3离合液压泵的具体情况与位置



一般小车的离合器分如下二种:
一是拉线离合式(配MT手动档变速器)
二是液压离合式(配MT手动档变速器)
而F3使用的离合属于液压式
如图为液压泵离合器

离合器踏板行程
包括自由行程和有效行程,
自由行程为保证离合器分离彻底
而有效行程可以调整离合器接合点的高低
离合器踏板自由行程高度一般12—36mm
而F3一般调整到20mm左右为好

离合器踏板自由行程的检查方法:
1.关闭发动机。
2.用手按压离合器踏板并在感到有阻力时测量踏板下降距离。
3.如果自由行程不符合,可联系4S店调整,能力较好的可以自行调整.

液压泵离合器的调整方法.
1.先松开离合踏板与离合泵连接顶杆上的锁止螺母.
2.调整螺杆长度,螺杆收短,则离合踏板行程变短,抬高踏板较少便可进入半联动状态,反之则接合点变高.
3.一次调整量不宜过多,调整不适可反复多次进行调整.
4.试验位置合适与否要依试车为准,最后记住一定要锁紧迫紧螺母.

如图开口销取出,将油泵顶杆轴拆下.

如图用手旋转连接叉,顺时钟顶杆变短.

最后记得将防松开口销装回.

箭头所指的方向为:一是调整后推杆如箭头方向变长,这样会使离合抬高多点才到离合接合点.
二是是调整后推杆如箭头方向变短,这样会使离合轻抬便可进入离合接合点.

如下是自由行程的调整.

调整前将刹车传感开关插头拔下,以免档住松调整螺钉的板手.


最后看看F3离合液压泵的具体情况与位置



打开汽车之家 阅读体验更好
举报/纠错