mylink升级原厂倒车影像成功,附详细过程及分享其余加装附件。
mylink安装后一直很满意,唯一不足就是倒车影像,一直没有装继电器不能自动返回音乐,在看到xujie_china发帖说可以升级到最新系统使用原厂倒车影像,针脚mylink后面7正8负,迫不及待就开动。先是自己动手先把原来装的的AUX模拟倒车影像的针脚21和22调换到了7和8,然后今天奔去4S升级,折腾几个小时,在改装交流群的“丐中丐”车友和汽车之家车友“呵呵搭呵”车友各种方式帮助下成功。同时4S所有师傅围观。

就为了这个画面再次折腾。最终成功,显示很清晰,主要倒车时音乐不断。自带有标尺,由于摄像头有标尺,就隐藏了

昨天在家开拆,把21和22针脚换到了7和8,7是正极8是负极,刚好端口就上下位置,21的上面是7,22的上面是8。然后去4S就可以直接升级mylink。事实没有我想的简单,折腾了几个小时,有几个注意事项,关注了能节省不少时间。

到店先按“呵呵哒呵”车友的方法开始升级mylink,完成后进入倒车没有任何反应,后来看到“呵呵哒呵”车友帖子编程结束后要关闭点火装置30秒让系统重置控制器,我错过了这一步操作。后面升级的车友要注意了,不要走弯路。

电脑编程,输入带有摄像头车型的创酷车架号,编程收音机,准备升级时候看到可以更新的版本。

编程完版本提示是这个。

进入设置有倒车影像设置选项,但是编程完没有给系统30秒重置时间,所以挂倒档时候没有倒车影像界面。在车友群里咨询时候,“丐中丐”车友说可以用U盘升级,然后给我发了程序重试,换个方法重来升级。其实这两种方法都可以,不去4S可以在家用U盘自己升级,但是不知道没有刷16款带有倒车影像车架号直接升级行不行。

“丐中丐”车友通过QQ把程序发给我,用4S电脑下载。然后插U盘升级,很简单把下载好的程序放在U盘主目录插到正常听音乐的USB,屏幕就有提示升级。切记,中间不能有任何对车辆的操作,没有点火,钥匙在打开电源的状态。

一共跑两次,大约20分钟,中间就跟师傅抽烟聊天。

完成后mylink自动重启,师傅下车把所有门关上,锁车在开锁启动,进入倒档,看到进入影像画面,激动,但是画面没出来。又是一个注意事项。

能进入倒车界面说明mylink程序已经完成,那就是线路问题了。我是自己调的线路,师傅又检查了一遍,电源正常,视频线没有坏。初步怀疑是摄像头坏了或者摄像头不兼容,怀疑是不是必须用原厂摄像头。

师傅拿出两套摄像头,一套是新科鲁兹原厂的,一个是副厂的。原厂的线很短,而且有7个针脚,晕了,怎么接。副厂那个跟车上摄像头接头也不一样,最后用线搭着测试,还是不行。这里折腾两个小时。跟帖“呵呵哒呵”车友咨询,最后“呵呵哒呵”留了电话打过去,很详细的把状况问了,最后让我把后摄像头的电源负极搭铁,一试成功!再次谢谢“丐中丐”和“呵呵哒呵”车友,“丐中丐”车友中间一直问进度。

电源负极搭铁,进入倒档,摄像头灯亮起,画面出来了。当时是中午,4s服务接待一直问要不要在食堂吃饭,还有师傅折腾好久,还让人帮带饭回来,继续在车间。感谢。摄像头有点歪,为了标尺能直,所以摄像头就歪歪的了。mylink系统上显示的标尺偏高,适合创酷。当时还考虑买不带标尺的摄像头。看来就继续这样用了。
根据跟帖车友反馈,还是要先用16年创酷车架号编程收音机后,再用u盘升级才能成功。我错打正着了。
根据跟帖车友反馈,还是要先用16年创酷车架号编程收音机后,再用u盘升级才能成功。我错打正着了。

在更换倒车影像线的时候,顺便把启停开关接上后备箱信号线。这样按启停开关就能打开后备箱,相当方便。

安装挺简单。就驾驶位左脚位置那里排插走线到启停开关那里,不需要破线。只是一根信号线。

信号线的排插这个位置后面,要在底下才能看到,打开保险盒盖子。躺在地毯上就能看到。

上面插满排插,一个机顶盒这么大的盒子卡在上面,小心拿下来就能把信号线接上。这里就能看到那个粉色排插。

空间太小,没有拍照。这是借网上科鲁兹的图,盒子上的粉红色排插,看到一个黄蓝线。这就是后备箱信号线。我不破线,用线在黄蓝线缝隙里插进去接触到就可以,然后用胶布把线跟线束固定在一起,固定好插上排插。测试是否装好也很简单,把线的另一端接触车身金属搭铁,后备箱就能打开。空间小,来回折腾3次才成功,但是这样不破线,很值得。另外一边就接入启停开关第二排第2个接口。完成!

如果没有装启停开关的,还有一个更好的方法,这也是原厂开关,只要把信号线接上就行。这个开关跟启停开关价格差不多,几十块。装好才看到了。方便后面的车友。

拆出来看到才想起这里一直都是空的,可以用科鲁兹开关。

天使眼行车灯很多车友咨询,这里再把这个安装介绍下,成本100来块,自己就可以安装。开钥匙就能开,不需要单独开关,接的ACC,这个应该明白怎么接了。就看下我的走线吧。

固定天使眼在远光灯上,卖家配有胶,而且胶不错,用1年了很牢固。。

所有的线都用胶布包好,就在大灯上面这个位置凹槽进入机舱,然后一路用扎带固定。

把天使眼线头向上,通过大灯上面的凹槽走线入机舱,两边的s负极在中间位置这里合并,并灯的负极接到螺丝上搭铁。

天使眼各有一个电源控制器,也固定在这里,尽量离金属远一点,机舱温度太高。

我只装一对天使眼,还有车友装两对的,这个开出去回头率杠杠的,刚才在4S就有不少车主来看。问这是爱唯欧吧,然后看内饰。呵呵,要试下音响更厉害。

这就是我买的天使眼,灯和电源控制有个单独插头,方便更换。这种有不少颜色,我选的是白色,蓝色车身配白色好看。只需要把正极接入保险盒的ACC,用保险搭电线就能使用。保险搭电线上面能插两个保险,一个原车,一个灯独立的,不会影响车身电路。位置在机舱保险盒最右排中间位置一个写着10的保险。拔出保险,把保险接电线插进去就搞定。开钥匙就能亮灯。还有一个可以延时关灯的保险位置,锁车一会才关闭,酷。忘记是哪个了。

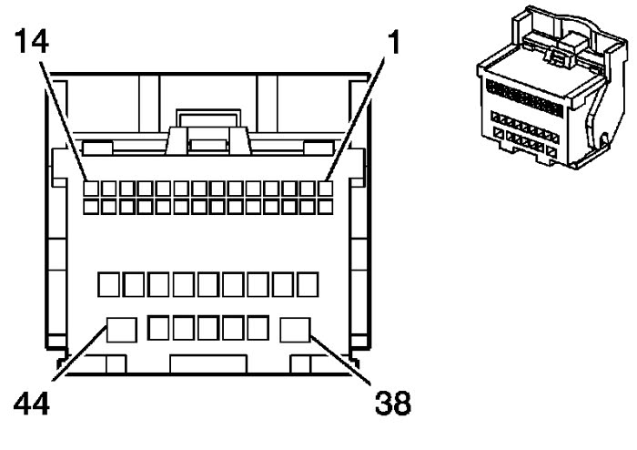
再发一张mylink后面排插图片,4和18是麦克风,7和8是倒车影像,这是常用的。

外温度显示,探头接口位置在雨刮水壶和大灯中间,看到一黑一蓝线了没,把线接上,引到车子预留的探头位置上,把探头插上安装好。然后在仪表选项里面打来就能看到温度。创酷CD和mylink都能显示。探头48块。

配置时候看到其实还有很多选项没有打开的,不知道还有什么功能。我打开了机油寿命,显示在仪表上。如果能开原车的胎压监测就好了。

再有就是方向盘按键,这是mylink最好的搭档。多功能方向盘中配才有,低配可以加装,但是要刷车身控制BCM,用中配的车架号,同年出产的车架号才能编程成功。详细看我之前的帖子。

首先游丝要换,原车的满针,但也要换。200块。

这是所需的多功能按键和线,4S和网上都能买的到,100块。

然后就是动手,先要挖方向盘,我先挖一部分,去4S拆的时候再拆下来修下就可以装了。胶用的是天使眼剩下的胶,很牢固。

装的时候找不到合适的车架号,刷了手动中配车架号,换挡机构进入P档就出不来了,要插一把钥匙上去才能强制换挡,最后在“速度与激情201212”和众车友帮助下找到了合适车架号。谢谢“速度与激情201212”

说实话,爱唯欧是好车。有质感,开了其它的车,还是觉得爱唯欧好开,我是不会卖爱唯欧的,只会增加一辆车,或许是7座车型,爱唯欧继续折腾。还有好多规划中的加装。

老婆也觉得爱唯欧好开,贬低她公司的科鲁兹、408。

最近看了威朗霸气的配色,或许下次也会弄个灰色轮毂,还有把排气尾喉弄一下,现在海口交警抓改装,直排、街鼓、S鼓什么的就不用想了。

蓝色车配个白色轮毂还是不错的。看到车友弄的。

还有4S送的皮座彻底烂了,还好当时把布的拿回来,现在就用原厂先用布的。海南太晒,这次还要换膜,朋友刚提车,他说带我去贴3M膜。还有看到网上创酷这个皮座配色不错,一套当地做1000元左右。也挺想订原厂的,就是有点贵。

对爱唯欧和加装的配置很满意,再次感谢全国热心车友,对我的加装帮助很大,还有海口爱唯欧车友。经常看到路上还没加群的爱唯欧,海南爱唯欧车友看到就加群吧,欢迎加群一起折腾。附图是公司今年发的2016台历,好“精致”,还有个很大的架装着。
打开汽车之家 阅读体验更好
举报/纠错